產品介紹
咨詢服務熱線:13957717877
產品概述
資料下載
相關產品
相關資訊


SAFE-DELAY型功能安全繼電器產品特點:
1、2個非延時安全觸點
2、2個延時觸點
3、連續可調的延時(1 - 30 s)
4、連接:
4.1緊急停止按鈕
4.2機械安全開關
4.3非接觸式安全開關
4.4帶OSSD輸出的安全組件
5、控制:用于外部接觸器或擴展模塊的單通道或雙通道反饋回路
6、循環監控輸出觸點LED電源和狀態指示燈
7、自動或手動啟動
8、短路監控和接地故障監控
9、高達 PL e/SILCL 3/類別4(EN ISO 13849-1/EN 62061)
SAFE-DELAY型功能安全繼電器產品功能:


SAFE-DELAY型功能安全繼電器產品功能:
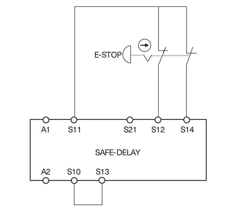
根據應用或EN ISO 13849-1的風險評估結果, 設備必須按照圖1 -圖9所示進行接線。非
延時觸點13/14, 23/24可用于PL e, 類別4, 延時安全觸點37/38, 47/48 可用于
PL e, 類別3。
警告:為了激活接地故障監控,PE必須僅連接到符合EN 60204-1的電源單元。
圖1:帶短路和接地故障監控的雙通道急停( PLe/SIL3,類別 4)

圖2:帶接地故障監控的雙通道急停(PLd/SIL2,類別3)

圖3:帶接地故障監控的單通道急停(PL c/SIL 1,類別 1)

圖4:帶短路和接地故障監控的雙通道安全防護監控(PLe/SIL 3,類別 4)

圖5:帶PNP輸出/OSSD輸出的雙通道急停,帶有自己的短路監控(PLe/SIL3,類別
4)

警告:失去功能安全!
對于根據圖5的應用,需要注意以下幾點:
信號發生器和SAFE-DELAY的接地電位相同。
必須信號發生器發出的任何接通脈沖(光測試)不會導致安全繼電器的短暫激活,
因此應基本上禁用。

SAFE-DELAY型功能安全繼電器啟動行為:
圖6:手動啟動

圖7:自動啟動。在S12和S13處閉合安全開關時的允許延遲。
S12在S13之前:300 ms
S13在S12之前:無限制
警告:安全觸點在通電時將會立即激活

SAFE-DELAY型功能安全繼電器反饋回路:
圖8:監控手動啟動的反饋回路。反饋回路監控接觸器或擴展模塊

圖9:自動啟動反饋回路。反饋回路監控接觸器或擴展模塊


SAFE-DELAY型功能安全繼電器技術參數:
| 符合標準 | EN 60204-1;EN ISO 13849-1;IEC 62061 |
| 工作電壓 | AC/DC24V+/-10% |
| 功耗 | AC 5.3 VA/DC4.7W |
| 額定供電頻率 | 50-60 Hz |
| S11處的控制電壓 | DC24V |
| 控制電流 | 通常為190 mA |
| 非延時安全觸點 | 2 NO |
| 延時安全觸點 | 2 NO |
| 開關電壓 | AC 250 V |
| 安全觸點的觸點容量 6個開關周期/分鐘 | 阻性負載:AC250V/8A,2000VA AC-15:AC250V/3A 阻性負載:DC30V/8A,240W DC-13:DC24V/3A |
| 通過觸點的總電流 | 15 AI多個設備在負載之下緊密布置,在環境溫度T=20℃下的總電流:9A;在T=30℃下:3A;在T=40℃下:1A;否則,兩個設備之間必須保持5mm的距離。 |
| 小接觸負載 | 5V,10 mA |
| 外部保險絲 | 10 AgG |
| 接通延時 | <30 ms |
| 關斷延時(可調) | 30 ms~30 s |
| 恢復時間 | <500ms |
| 控制線的長度 | 1,000m @0.75 mm2 |
| 線寬 | 0.14~2.5 mm2 |
| 緊固力矩(min./max.) | 0.5 Nm/0.6 Nm |
| 觸點材料 | AgSnO? |
| 機械壽命 | 1x107次 |
| 測試電壓 | 2.5 KV(控制電壓/觸點 |
| 額定沖擊耐受電壓,泄漏路徑/氣隙 | 4 kV(DIN VDE0110-1) |
| 額定絕緣電壓 | 250V |
| 污染等級/過電壓類別 | 2/3(DIN VDE 0110-0) |
| 防護等級 | IP20 |
| 環境溫度范圍 | -15℃~+40℃ |
| 存儲溫度范圍 | -15℃~+85℃ |
| 海拔高度 | ≤2,000m |
| 重量 | 約250g |
| 根據EN 60715的安裝DIN導軌 | TH35 |
上一個:GYD系列WiFi斷路器
下一個:SAFE-SIL型功能安全繼電器
優惠券
我們的微信
13957717877
13957796089